
ГЛАВНОЕ АРТИЛЛЕРИЙСКОЕ УПРАВЛЕНИЕ КРАСНОЙ АРМИИ
ОПИСАНИЕ
ВИНТОВОЧНОЙ АГИТАЦИОННОЙ ГРАНАТЫ обр. 1942 г.
(ВАГ-42)
ВОЕННОЕ ИЗДАТЕЛЬСТВО
НАРОДНОГО КОМИССАРИАТА ОБОРОНЫ
1 9 4 3
ВИНТОВОЧНАЯ АГИТАЦИОННАЯ ГРАНАТА
обр. 1942 г. (ВАГ-42)
Винтовочная агитационная граната (ВАГ-42) (рис. 1) предназначается для переброски
агитационных листовок в войска противника.
Метание винтовочной агитационной гранаты производится при помощи охолощенного
патрона из винтовки обр. 1891/30 г. с надетой на ствол винтовки мортиркой.
![]() |
Рис. 1. Общий вид винтовочной агитационной
гранаты обр. 1942 г. |
Вес окончательно снаряженной гранаты 324-340 г. Дальностъ метания 400-450 м при угле возвышения 40-45°. Время горения замедллителя 5,5-6 секунд. Количество листовок формата 105х150 - 35-40 шт.
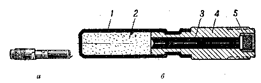
Устройство винтовочной агитационной гранаты (ВАГ-42)
Винтовочная агитационная граната (ВАГ-42) состоит из корпуса с катушкой, на
которую навёртываются листовки, и стабилизатора, в котором помещается запал
(рис. 2).
Корпус гранаты представляет собой бумажный цилиндр, внутри
которого помещается катушка с листовками.
Катушка (рис. 3) состоит из деревянного стержня, на один конец
которого запрессована при помощи клея деревянная головка, а к торцу другого
конца прибита металлическая шайба.
Деревянный стержень катушки служит для навертывания листовок.
Деревянная головка является оживальной частью корпуса гранаты.
Металлическая шайба является обтюратором для пороховых газов
вышибного заряда.
Деревянный поддон служит для соединения корпуса гранаты со
стабилизатором. Деревянный поддон состоит из утолщенной части
и хвостовика. На утолщенную часть поддона крепится че-
![]() |
Рис. 2. Разрез винтовочной агитационной
гранаты обр. 1942 г. 1 - корпус гранаты; 2 - стабилизатор; 3 - перья стабилизатора; 4 - запал; 5 - деревянный поддон; 6 - металлическая шайба; 7-картонные вкладыши; 8 - место для листовок с текстом; 9 - деревянный стержень катушки; 20 - деревянная головка |
тырьмя гвоздями корпус гранты, а на хвостовик поддона надевается трубка стабилизатора и закатывается на нём. Поддон имеет цилиндрическое отверстие для помещения запала.
![]() |
Рис. 3. Катушка; 1 - деревянная головка; 2 - деревянный стержень; 3 - металлическая шайба; 4 - гвоздь |
Стабилизатор (рис. 4) служит для стабилизации гранаты на полёте. Он состоит из цилиндрической трубки, втулки и перьев.
![]() |
Рис. 4. Стабилизатор |
Трубка служит для надевания гранаты на мортирку перед метанием.
В верхнюю часть трубки запрессована с последующим обжатием втулка, которая имеет
навинтованное отверстие для ввинчивания запала и служит дном стабилизатора,
воспринимающим давление пороховых газов при выстреле.
На наружной поверхности трубки приварены два пера (каждое перо имеет по две
лопасти), служащие для придания гранате устойчивости на полёте.
Запал (рис. 5) служит для выталкивания катушки с листовками
из корпуса гранаты под дав-лением газов, образуемых при взрыве вышибного заряда.
Он состоит из втулки замедлителя, в которую запрессован пороховой
столбик, служа-
![]() |
Рис. 5. Запал: а)наружный вид; б)
разрез запала; 1 - гильза; 2 - вышибной заряд; 3 - пороховой столбик (замедлитель); 4 - втулка замедлителя; 5 - капсюль-воспламенитель |
щий для передачи огня вышибному заряду через определённое время; капсюля-воспламенителя,
который воспламеняется при выстреле пороховыми газами охолощенного патрона и
воспламеняет пороховой столбик; гильзы, надетой и закатанной
на втулке замедлителя, в которой помещается вышибной заряд.
Для стрельбы винтовочными агитационными гранатами применяется мортирка, надеваемая
вместо штыка на ствол винтовки обр. 1891/30 г.
Мортирка (рис. 6) служит для направления полёта гранаты. Она
состоит из цилиндрической трубки и тарели.
Один конец трубки, которым надевается мортирка на ствол винтовки, имеет коленчатую
прорезь для прохода основания мушки. На трубку надета и приварена за коленчатой
прорезью тарель, служащая отражателем газов при выстреле.
Метание винтовочной агитационной гранаты производится силой пороховых газов,
образующихся при выстреле из винтовки охолощенным
патроном.
Во время транспортировки и носки гранаты охолощенный патрон, завёрнутый в бумагу,
находится в трубке стабилизатора гранаты.
![]() |
Рис. 6. Мортирка: 1 - коленчатая прорезь; 2 - тарель для отражения газов при выстреле; 3 - трубка |
Снаряжение гранаты листовками
Винтовочные агитационные гранаты поступают в части не снаряженные листовками.
Снаряжение гранат листовками производится в частях по указанию политотдела соединения
в следующем порядке:
1. Извлечь из корпуса гранаты катушку с картонными вкладышами.
2. Намотать на катушку листовки. Для этого пачку листовок (35-40 шт.) сдвигают
ступенчато по длинной стороне так, чтобы после обмотки катушки не было резкого
перехода в диаметре обмотанной катушки.
Катушка, обмотанная листовками, обвёртывается листом тонкой бумаги, а затем
накладываются картонные вкладыши.
3. Удерживая катушку с листовками в обхват правой рукой, вставить её в корпус
гранаты.
Подготовка винтовки и гранаты к стрельбе
Для подготовки винтовки и гранаты к стрельбе надо:
a) осмотреть, чтобы винтовка не была заряжена;
б) снять штык с винтовки;
в) взять мортирку, надеть её на ствол винтовки и повернуть так, чтобы основание
мушки вошло в поперечную прорезь мортирки (рис. 7);
г) вынутъ из стабилизатора гранаты завернутый в бумагу охолощенный (без пули)
патрон и снять с него бумагу (рис. 8).
![]() |
Рис. 7. Надевание мортирки на ствол винтовки |
![]() |
Рис. 8. Вынимание из стабилизатора
охолощенного патрона |
Заряжание винтовки
Для заряжания винтовки надо:
а) открыть затвор винтовки;
б) взять гранату и трубкой стабилизатора надеть на мортирку (рис. 9);
в) зaрядить винтовку охолощенным патроном (рис. 10).
Производство выстрела
Для производства выстрела надо:
а) упереть винтовку прикладом в землю (на бруствер окопа), направив ствол винтовки
в сторону противника;
б) придать винтовке угол возвышения в 40-45°;
в) нажав на спусковой крючок, произвести выстрел (рис. 11).
![]() |
![]() |
Рис. 10. Заряжание винтовки охолощенным
патроном |
|
![]() |
|
Рис.9. Надевание гранаты на мортирку |
Рис. 11. Придание винтовке угла возвышения
и производство выстрела |
Действие гранаты при выстреле
При выстреле под давлением пороховых газов на втулку стабилизатора граната
срывается с мортирки и летит в направлении метания. Одновременно пороховые газы
воспламеняют капсюль-воспламенитель запала, ввинченного во втулку стабилизатора.
Огонь капсюля-воспламенителя передаётся замедлителю, а от него -- вышибному
заряду (когда прогорит дистанционный состав. Давлением пороховых газов вышибного
заряда на металлическую шайбу катушки последняя выталкивается из кoрпуса гранаты,
и листовки рассеиваются.
Для увеличения дальности полёта листовок целесообразно метать агитационные гранаты,
когда ветер направлен в сторону противника; при этом метание необходимо вести
при углах возвышения больше 45°.
Редактор полковник Глазатов В. В.
Технический редактор Иванов Т. И.
Корректор Тепер М. С.
Г111159 Подп. к печати 30.10.43 г. Изд. N ;Объем 0,25 п. л.
Уч.-авт. л. 0,5 В 1 п. л. 53.200 тип. знаков. Заказ N 2481
Тип. "Красное знамя", Москва, Сущевская, 21.
08.12.2003 OCR by kos12092000(a)mail.ru