Журнал "За оборону!" Октябрь 1945
Немецкие мины в телеграфных столбах
Полковник И. САВИЦКИЙ
Минеры Вижонской уездной команды Осоавиахима (Литовская ССР) во время работ
по разминированию обнаружили в телеграфных столбах неизвестный тип мины-сюрприза.
Такие мины заложены внутри нижней части столба и имеют взрыватель, установленный
обрывное действие. При перепиливании заминированного столба в любой точке до
высоты 150 см от поверхности земли происходит взрыв.
По показаниям местных жителей, немцы минировали линию в 1943 году после многочисленных
случаев ее разрушения партизанскими отрядами, действовавшими на территории Вижонского
уезда.
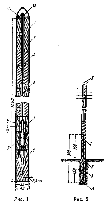
![]() |
Мина (рис. 1) представляет собой цилиндрический корпус из серого прессованного
картона, снизу открытый, а сверху запрессованный на конус для удобства закладывания
мины в гнездо, просверленное по оси столба, высота цилиндрической части корпуса
150 см, внутренний диаметр 35 мм, наружный диаметр 40 мм. Корпус снаряжается
зарядом ВВ весом 1,5 кг, который состоит из пятнадцати толовых 100-граммовых
шашек 2. Тринадцать верхних шашек имеют по оси сквозные отверстия 3
диаметром 5 мм для проволочной натяжки 4, удерживающей ударник взрывателя
боевом положении. В четырнадцатой (второй снизу) шашке имеется сквозное отверстие
5 диаметром 12 мм, а в пятнадцатой (первой снизу) -- углубление такого
же диаметра 6, в которых помещается взрыватель ZZ-42 7.
Для установки взрывателя ZZ-42 на обрывное действие при снаряжении мины к ушку
8 ударника взрывателя 9, удерживаемого в боевом положении
чекой 10, присоединяется отрезок проволоки 4. Затем проволока
пропускается через сквозные отверстия шашек и отверстия в упорных деревянных
шайбах 11, натягивается и прочно закрепляется сверху шайб узлом 12,
причем шашки плотно поджимаются друг к другу. После закрепления проволочной
натяжки сверху деревянных шайб она удаляется, но ударник взрывателя, прочно
удерживаемый проволочной натяжкой, продолжает оставаться в боевом положении
(пружина сжата).
Если проволоку 4 оборвать или обрезать, например, при перепиливании
столба, ударник освобождается, под действием пружины накалывает капсюль-воспламенитель
запала и подрывает капсюль-детонатор и заряд ВВ.
Минирование столбов производится до их закапывания в следующем порядке (рис.
2). В нижней части столба, по его оси, просверливается отверстие -- гнездо глубиной
300 см и диаметром 5 см. В это гнездо и закладывают мину 1. Для того
чтобы мина удерживалась в указанном на рис. 2 положении (в верхней половине
просверленного гнезда) ее засыпают слоем сухих древесных опилок высотой 30 см
2, который затем сжимается деревянным штоком 3 и плотно закрепляется
пробкой-клином 4. Минеры Вижонской уездной команды Осоавиахима установили,
что заминированные телеграфные столбы немцы отмечали особым условным знаком
-- двумя медными гвоздями 5, вбитыми в верхушку столба.
Так как столб обычно закапывается в землю на глубину 150 см, то после его минирования
и установки основание находящейся внутри столба мины окажется примерно на уровне
поверхности земли, а ее верхняя часть -- конус -- на 150 см выше, что и обеспечивает
взрыв при попытке перепилить столб.
Рай(гор)советам Осоавиахима необходимо иметь в виду, что и в других бывших в
оккупации районах, в особенности в районах, где действовали партизанские отряды,
немцы могли минировать линии связи. Могли быть минированы отдельные столбы,
устанавливавшиеся взамен уничтоженных партизанами, на старых линиях связи, а
также серии столбов и даже целые линии на трассах, которые устанавливались немцами.
Поэтому все линии связи на освобожденной от немецких оккупантов территории должны
быть проверены районными (уездными) командами Осоавиахима, а обнаруженные заминированные
столбы уничтожены, так как обезвреживание их опасно.
Работу по ликвидации заминированных телеграфных столбов следует разбивать на
два этапа: первый -- по проверке линий связи (выполняется командами Осоавиахима
самостоятельно) и второй -- по уничтожению обнаруженных заминированных столбов
(выполняется командами Осоавиахима совместно с ремонтными бригадами Наркомсвязи).
Задача проверки линий связи -- поиск заминированных столбов. Проверку организует
начальник районной (уездной) команды Осоавиахима, который указывает командирам
отделений их участки работы, исходные пункты, порядок движения бойцов, способы
проверки столбов, тремя работы, сборные пункты и пр.
Бойцы-минеры оснащаются теми же средствами разминирования, что и при разведке
местности (кошки, щупы, средства взрывания), а также средствами обозначения
заминированных столбов, воротами для оттаскивания столбов и пр.
Проверка линий и поиск заминированных столбов ведутся в основном по внешним
признакам: два медных гвоздя на верхушке столба, другой цвет одного или нескольких
столбов, наличие старого столба или его остатков, следы сверления столбов, телефонного
провода, ВВ и пр.
При наличии таких признаков подозрительные на минирование столбы должны быть
тщательно осмотрены.
Если столбы установлены на металлических, например, рельсовых опорах (столбы
приподняты над поверхностью земли), то наличие мины внутри столба может быть
в этих случаях определено по пробке-клину на нижнем торце столба.
Обнаружив мину, боец-минер отмечает заминированный столб дощечкой с надписью
"Столб заминирован" и продолжает еще более тщательно поиск, а закончив проверку
всего заданного участка, докладывает командиру отделения об обнаруженных и обозначенных
заминированных столбах.
По окончании поиска и обозначения мин начальник команды организует смену заминированных
столбов и их уничтожение. Смена столбов производится минерами совместно с рабочими
ремонтных бригад Наркомсвязи в обычном порядке, принятом при замене столбов,
пришедших в негодность, но с соблюдением всех необходимых мер предосторожности.
Для смены заминированный столб закрепляется прочными подпорками, чтобы и после
полного его откапывания он оставался на месте. Затем, после снятия проводов
с изоляторов, столб с помощью поддержек осторожно опускается на землю и минеры
очищают и осматривают торец столба.
При наличии подтверждающего минирование столба клина-пробки столб подлежит уничтожению,
а при отсутствии пробки-клина столб можно снова установить на место.
Уничтожение столбов производится подрыванием. Для подрывания минированные столбы
необходимо оттянуть в сторону от линии на 40-50 м, что можно сделать с помощью
установленного в укрытии ворота. Подрывание производится под руководством командира
взвода или отделения, тоже из укрытия. Для управления работой командир взвода
устанавливает сигнал об уходе рабочих и минеров в укрытие, сигнал о производстве
самого взрыва и сигнал, разрешающий продолжение работы.
Установка новых столбов взамен уничтоженных заминированных производится рабочими
ремонтных бригад Наркомсвязи после уничтожения заминированных столбов.
14.01.2004 OCR by kos12092000(a)mail.ru / mail me for any errors